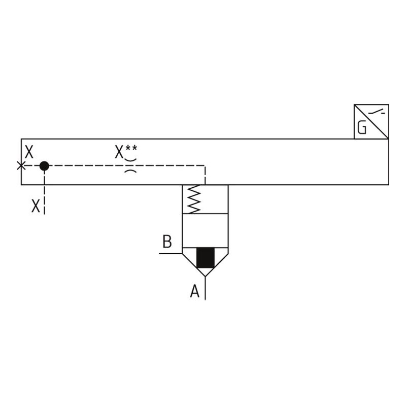
R900938196
LFA50E-7X/CA20DQMG24F

LFA50E-7X/CA20DQMG24F
  • Availability: 2-4 weeks
  • Weight: 20.28 KG
  • Part number: R900938196
  • Manufacturer: Bosch Rexroth

Price:

remove add

The minimum order quantity for the product is 1.

LFA50E-7X/CA20DQMG24F
Quantity discount

The price will be automatically updated once added to the cart.

autorenew

Loading data...