R900930724
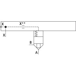
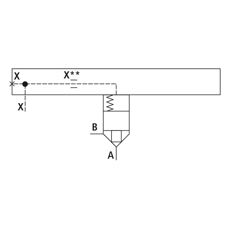
LFA25D-7X/FV

LFA25D-7X/FV
  • Availability: 2 weeks
  • Weight: 1.62 KG
  • Part number: R900930724
  • Manufacturer: Bosch Rexroth

Price:

remove add

The minimum order quantity for the product is 1.

LFA25D-7X/FV
Quantity discount

The price will be automatically updated once added to the cart.

autorenew

Loading data...