search
clear
Search
Search
Language:
EN
CZ
EN
Čeština
English GB
€
CZK
Kč
EUR
€
USD
$
0
Home
Hydraulics
Pumps
Axial piston pumps
Accessories
Fixed displacement
Variable displacement
Radial piston pumps
Spare parts
Vane pumps
Spare parts
Fixed displacement
Variable displacement
External gear pumps
Accessories and spare parts for external gear units
Gerotor pumps
Internal gear pumps
Spare parts
Pump systems
Electro-hydraulic pumps
Electro-hydraulic control systems
Variable-speed pump drives
Motors
Axial piston motors
Fixed displacement
Variable displacement
Accessories
External gear motors
Accessories and spare parts for external gear units
Radial piston motors
Spare parts
Valves
Directional valves
Directional on/off
Directional proportional
Directional high response
Directional servo
Control blocks
Directional bankable
Pressure valves
Pressure relief
Pressure reduction
Pressure reduction / relieving
Pressure sequence
Pressure balance
Pressure cut-off
Pressure pump safety block
Flow valves
Throttle
Flow regulator compensated
Flow divider
Flow divider and combiner
Flow fuse
Check and shuttle valves
Check
Shuttle
Prefill
Load holding valves
Counterbalance
Load lowering control and relief
Pilot to open check
Multifunction valves
Power brake valves with pedals
Pedals mechanic
Electronic brake pedals
Single circuit brake valve (w/ pedal)
Dual circuit brake valves (w/ pedal)
Accessories
Cable sets
Fixation equipment
Subplates
Coils
Valve amplifiers
Housings
Electric connectors
Spare parts
Manifolds
Connection plate
Multistation manifolds
Single valve connection plates
Logics housing
Modular plate systems
Standardized functions
Press modules
Press brake modules
Accumulator shut-off blocks
Power units
Standard power units
Compact power units
Small power units
Mid-size power units
Large power units
Power unit modules
Accumulator stations
Filter units
Variable speed pump drives
Hägglunds drive units
Power unit accessories
Pressure sensors
Pressure gauge
Level sensors
Temperature sensors
Oil condition sensors
Accumulator shut-off blocks
Filters
Spare parts
Cylinders
Mill type cylinders
CD - single rod cylinders
CG - double rod cylinders
CS - single rod cylinders with position measurement system
Tie rod cylinders
CD - single rod cylinders
CG - double rod cylinders
CS - single rod cylinders with position measurement system
Large cylinders
Application cylinders
Accessories
Spare parts
Accumulators
Bladder accumulators
Diaphragm accumulators
Accumulator stations
Accumulator shut-off blocks
Accumulator accessories
Spare parts
Electronics & controls
Axis control
Pump control
Valve Amplifiers
Accessories
Controller
Control Devices
Connectivity units
Sensors
Pressure sensors
Electronic pressure switches
Mechanic pressure switches
Pressure gauge
Level sensors
Temperature sensors
Oil condition sensors
Speed sensors
Swivel angle sensors
Signal encoders
Inertial Sensors
Position Sensor
Draft Sensor
Spare parts
HMIs
Power brake valves with pedals
Electronic brake pedals
Single circuit brake valve (w/ pedal)
Dual circuit brake valves (w/ pedal)
Mechanical pedal
Displays
Panels
Joysticks
Hydraulic Joysticks
Electronic Joysticks
Foot Pedals
Hydraulic pilot control foot pedal
Electronic foot pedal
Compact hydraulics
Cartridges Valves
Compact Directional Valves
Compact Power Modules
Hydraulic Integrated Circuits
Load Holding & Motion Control Valves
Spare parts
Linear Motion Technology
Linear guides
Ball rail systems High Precision BSHP
Ball rail systems Compact Line BSCL
Miniature ball rail systems
Roller rail systems
Cam roller guides
Linear bushings and shafts
Clamping and braking units
Integrated measuring systems
Screw drives
Ball transfer units and tolerance rings
Electromechanical cylinders
Linear axes
Smart Function Kit Pressing
Services
Contacts
Blog
Home
Hydraulics
Valves
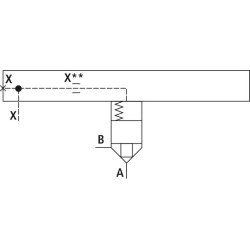
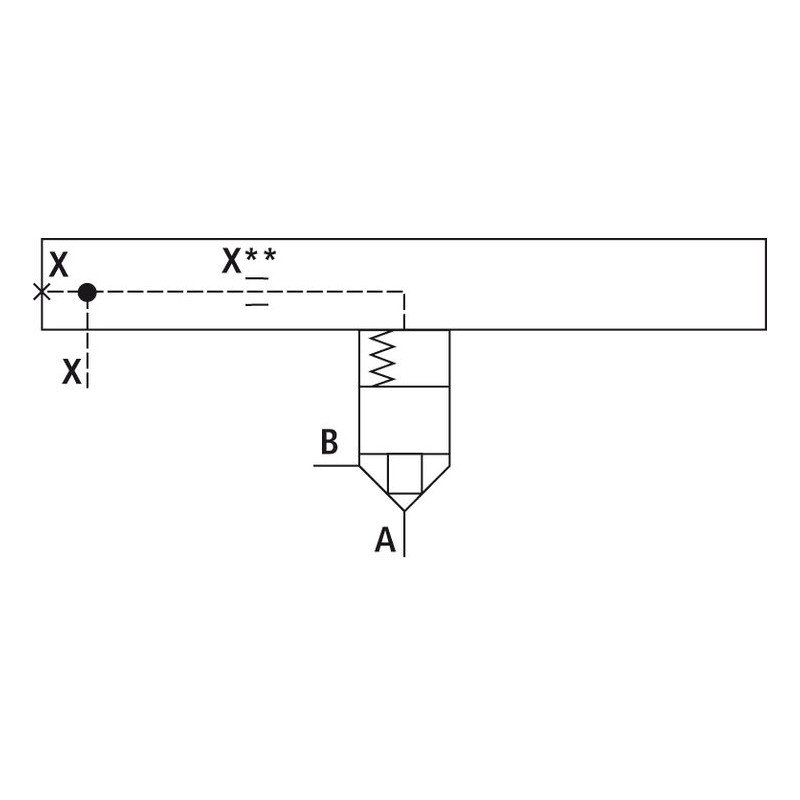
LFA25D-7X/F
R900905302
LFA25D-7X/F
Availability:
Available
Weight:
1.62 KG
Part number:
R900905302
Manufacturer:
Bosch Rexroth
Price:
Sign in
remove
add
shopping_cart
Add to cart
Quantity discount
Sign in
per piece
Sign in
per piece for
2
and more
Sign in
per piece for
4
and more
The price will be automatically updated once added to the cart.
Specifications
Standard series
Size 16 ' 160
Component series 6X, 2X, 7X
Maximum operating pressure 420 bar
Maximum flow 25000 l/min
Size 16 ' 160
Component series 6X, 2X, 7X
Product Details
Description
Jednotka váhy
KG
Datasheet ID
PDF Data Sheet
Product page ID
https://www.boschrexroth.com/product-link?c=en&lang=en&cat=IH&p=p769945
Order Max
0
HS Code
84812010
Standard series
Size 16 ' 160
Component series 6X, 2X, 7X
Maximum operating pressure 420 bar
Maximum flow 25000 l/min
Size 16 ' 160
Component series 6X, 2X, 7X
Online support
Fast delivery
Fast response
Specific demand
More pieces?
Ask for discount
Great choice
Quantity discount
Contact
LOGIC COVER
check_circle
check_circle